KENMERKEN VAN 3 GRID-DIPPERS EN 3 DIPMETERS (GDO'S)
Een globale vergelijking van hun hebbelijkheden.
13- dec-2016 HANSEN F-701 Gridip meter.
|
HEATHKIT GD-1U Grid-dipper |
HEATHKIT HD-1250 Dipmeter |
GRUNDIG type 701 Grid-dipper |
TECH TE-15 Dipmeter |
KENWOOD DM-81 Dipmeter |

Grid dipper Lafayette TE-18 of RESCO type?
INLEIDING
De laatste tijd worden er op de diverse webveilingen en verkoop sites regelmatig grid-dippers of dipmeters aangeboden. Komt dat omdat men niet meer experimenteert of werd het (gedateerde?) meetinstrument door iets nieuws vervangen? Als u nog geen dipmeter heeft, is er nu volop gelegenheid om zo'n apparaat aan te schaffen. Zoiets wordt niet elke dag gebruikt, maar als u tot de steeds kleiner wordende groep van zelfbouwende of experimenterende radiozendamateurs behoort, zal nog wel eens blijken dat het toch handig als men erover kan beschikken
Oorspronkelijk waren dergelijke meetinstrumenten uitgevoerd met buizen, waarbij het rooster in een metercircuit was opgenomen. Vandaar de Engelse naam grid-dipper (GDO = grid dip oscillator). Later kwamen er apparaten met als actief element tunneldiodes of transistors en dan is de term "dipmeter" meer van toepassing.
Een GDO is in feite een meetzender met als antenne een magnetische loop in de vorm van een uitwendig spoeltje (fig») dat zorgt voor een inductieve koppeling met het te meten object. De spoel maakt deel uit van een oscillatorcircuit met een schaalverdeling en een meter als signaalindicator. Als een dipper in de buurt van een afgestemde kring gebracht wordt, onttrekt het te meten object (een resonante kring) een gedeelte van de uitgestraalde oscillator energie en dat is te zien als een kleinere uitslag (dip) op de meter. Hoe sterker de koppeling wordt hoe sterker de dip, maar ook hoe onnauwkeuriger de aangewezen frequentie. Voor maximale nauwkeurigheid moet men na het vinden van een dip de afstand vergroten en opnieuw een dip zoeken en zo een paar keer doorgaan. Het is ook raadzaam om eerst zonder meetobject te controleren of het instrument niet een paar valse dippen heeft. Omdat de onderhavige kring niet gevoed hoeft te worden door een of ander actief element en dus onbelast werkt, is meten met een dipper is een zeer goede methode om resonanties te bepalen.
NAUWKEURIGHEID
Feitelijk zijn dippers "ja of nee" indicators omdat hun nauwkeurigheid verandert met de mate van koppeling met het testobject. Voor alle dippers geldt dat u een monitor, bij voorbeeld ontvanger of frequentieteller, nodig heeft om te controleren of de frequentie correct is!
Na enige praktische ervaring kan men grofweg ook andere elektrische eigenschappen vaststellen zoals een lagere Q bij een flauwere dip.
|
Verder zijn veel van deze meetinstrumenten ook nog geschikt als: |
Signaal generator (eventueel gemoduleerd) Veldsterkte meter Mark generator Kristal tester Absorptie frequentie meter Het meten van capaciteit of zelfinductie |
NADELEN
Grid-dippers hebben ook nadelen. Dat is één van de redenen dat hier in de loop de jaren meerdere exemplaren "verzameld" werden en ik eigenlijk nog steeds niet voor de volle 100% tevreden ben. Maar misschien komt het ook omdat er nog nooit een echt professioneel apparaat aangeschaft werd.
Wat kan er aan zo'n meetinstrument niet in orde zijn?
- Valse dippen, veel types hebben over het hele frequentiebereik last van valse dippen.
- De dip, niet alle meters geven een duidelijk diepe dip.
- Schaal, zelden klopt de schaal over het hele bereik met de werkelijke frequentie. Monitoren met een rx is nodig.
- Stabiliteit, bij sommige dippers laat dat, ook na een opwarmtijd, te wensen over.
Één van de oorzaken van genoemde nadelen is dat wij een schaap met vijf poten willen hebben. De meters bestrijken alleen door het verwisselen van een aantal steekspoelen het hele frequentiegebied van 1.7 - 250 MHz. Beter zou zijn één dipper voor een beperkt frequentiegebied en hier loont het de moeite om zelf iets te maken voor bij voorbeeld alleen de 2 m band of voor 40 en 80 m.
VERGELIJKING


Afgezien van een paar "speciale" zelfbouw dippers, kan ik u slechts mijn ervaring melden over de volgende commerciële grid-dippers of dipmeters. De stabiliteit van de oscillator werd alleen in 9 HF amateur banden getest.
|
Tech TE-15. |
TECH TE-15 Tradiper.
Een PNP transistor dipmeter, mijn eerste, oudste en daardoor meest gebruikte exemplaar. Zeker weet ik het niet meer, maar het moet ten minste 40 jaar oud zijn. Een goede en duidelijk dip. Er zijn 3 valse dippen aanwezig in het 0.36-100 MHz bereik, maar die waren niet storend. Het laatste bereik 100-250 MHz heeft zeker 10 zeer diepe en overduidelijke valse dippen. De stabiliteit van de oscillator is slecht, het ding blijft lopen.
Het apparaat wordt gevoed met een 9 V blokbatterij.
LAFAYETTE TE-18.

Lafayette TE-18.
Dit type werd ook onder de merknaam RESCO aangeboden. De voeding is uit het lichtnet. Mijn 2dehandse (fig») meter met één buis 6AF4A (6AF4, 6T1) was stevig met een mooi gegraveerde en robuuste metalen schaal. Dat leek mij wel wat. Jammer genoeg waren er veel valse dippen en de echte waren zo vaag dat beide vrijwel niet van elkaar te onderscheiden waren.
Ook de frequentie stabiliteit was slecht en dat werd enigszins beter nadat de anodespanning met een zenerdiode gestabiliseerd was. De meter werd al spoedig naar een afgelegen plek in een kast verbannen.
|
Heathkit GD-1U. |
HEATHKIT GD-1U.

|
Een GDO GD-1U als bouwdoos. |
Dit robuuste oudje, met één buis EC92 (6AB4) en een amateuristisch ogende opgeplakte papieren schaal onder een kunststof schijf, lag voor de verkoop bij een oudere zendamateur. Ik was er niet voor de dipper, maar hij vroeg er zo weinig voor dat ik het alleen al uit nostalgische overwegingen zonde vond om niet mee te nemen. Het zou bij mij in de shack goed als museumstuk staan.
Het was als bouwdoos een Engelse uitvoering van Heathkit's GDO's met een bereik voor 1.8 - 230 MHz in vijf banden en voeding uit een 220 - 240 V lichtnet. Wat bleek, het ding was stabiel, had 3 valse dippen beneden 35 MHz en veel kleine dipjes van 35 - 250 MHz, maar het onderscheid met een echte stevige dip was duidelijk genoeg. De gevoeligheid van het meetcircuit bleef goed ook als de afstand tot het meetobject vergroot werd. Kortom een gevoelig stevig gebouwd meetinstrument met een overduidelijke dip en de stabiliteit was na een poosje aan staan verassend goed.
HEATHKIT HD-1250.
|
HEATHKIT HD-1250. |
Dit is de kleinste dipper uit de serie geteste exemplaren en daardoor is het gemakkelijk hanteerbaar. Het was een bouwdoos voor een FET dipper en de voeding gaat met een 9 V blokbatterij. Het instrument zit in een kunststof koffer met 7 insteekspoelen. De nauwkeurigheid aan de bandgrenzen neemt af, maar de bereiken (1.6 - 250 MHz) overlappen elkaar. Er zitten twee keurige printen in. De eerste gemonteerd direct achter de ingangsplug is de oscillator en de tweede bevat de detector en de rest van de schakeling.
Op de dubbele variabele condensator zit één trimmer zodat de schaal min of meer geijkt kan worden. Als dat gedaan wordt in de amateur banden is de schaal redelijk kloppend en tot mijn verrassing ook in de 2 m band. De dippen zijn niet groot, maar wel duidelijk en er is maar één valse dip in het 200 MHz gebeid. De stabiliteit op de HF banden is goed. Bij het aanzetten bleef dat op 3.5 MHz staan en op 29 MHz was dat na ongeveer 5 minuten stabiel.
De handleiding/manual staat op http://www.crowderinc.com/images/hamradio/manuals/hd1250.pdf
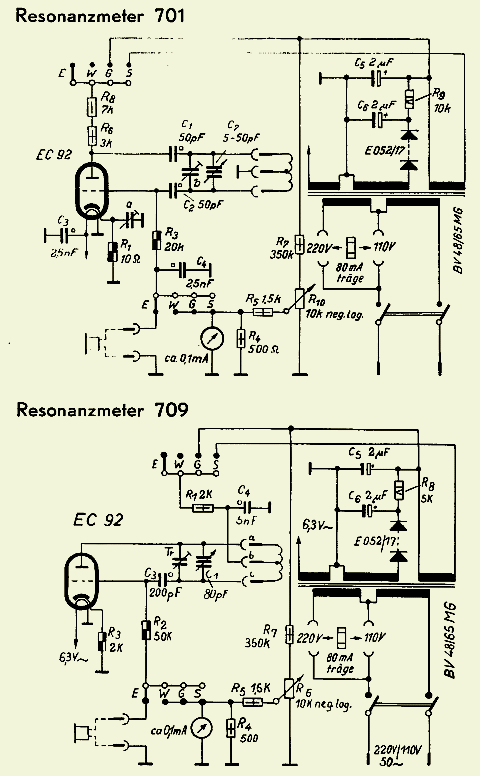
GRUNDIG RESONANZMETER 701.
|
GRUNDIG type 701. |

Dit professioneel (fig») ogende meetinstrument werd voor een redelijke prijs via eBay verworven. Het van oorsprong Oost-Duitse product van RFT («fig) met één buis EC92 (6AB4), werd later door of voor anderen (na)gemaakt. De oscillator is na een korte opwarmtijd zeer stabiel. Als test werd hier 3.6 MHz ingesteld en dat was na 12 uur nog steeds op frequentie. Ook 2 m is de stabiliteit verrassend goed. Op de lagere frequentiebanden is de schaal redelijk kloppend, maar niet de 1.5% die geclaimd wordt. Op 17 MHz en hoger is de ijking van de schaal bij mij ronduit slecht, maar de mechanische uitvoering van kast, meter, schaal, knoppen en insteekspoelen is tegen het professionele aan. In totaal werden over het hele bereik van 1.7 - 250 MHz maar 5 valse dippen gevonden.
Manual/Bedienungsanleitung Resonanzmeter 701/709 page1, page 2, page 3, page 4, page 5.
|
Behoudens R4 en diode 1N4001 is dit getekend zoals het origineel in mijn 701 zit. |
|
De uitslag op de meter bij het dippen was nogal matig en veel minder duidelijk dan dat van GD-1U en Tech TE-15. Een onderzoek wees uit dat weerstand R4 (500 Ohm) parallel aan de meter het systeem teveel dempt. Nadat de weerstand vervangen werd door een 1N4005 diode (of 1N4001- 1N4008) werd een dip net zo duidelijk als van de twee eerste instrumenten.
De meter sloeg op twee banden bijna niet uit als de schaal in de buurt kwam van respectievelijk 40 en 100 MHz. Na het plaatsen van een andere goede buis om het een en ander te testen, verbeterde dat niet. Kennelijk werkte de oscillator slecht in dat gebied en de reden waarom was mij (nog) niet duidelijk. Het zat mij niet lekker en een later onderzoek bracht aan het licht dat weerstand R8 en condensator C2 tegen elkaar aan lagen. Nadat er een isolatiekous over R8 geschoven was, deed de meter het op de stand 40 MHz zoals het hoort. Alleen een "maximum" uitslag op 100 MHz bleef erg laag, maar op 145 MHz was het "normaal" geworden.
De trimmers "a" en "b" zijn uitgevoerd in de vorm van (fig») twee geïsoleerde en getwiste draden.
KENWOOD DM-81
|
|
Voor dit artikel werd een DM-81 ter beschikking gesteld om te vergelijken met de eerder vermelde dipmeters. Als ik op het uiterlijk af ga, zijn de volgende types vrijwel gelijk aan elkaar: TRIO DM-800 en KENWOOD DM-81 Let op, belangrijk: in deze Engelse handleiding (manual DM-81) wordt aanschouwelijk («fig) beschreven hoe men met een GDO moet omgaan en wat men ermee kan doen! |
|
|
|
|
Het is transistor dipper in een mechanisch mooi, stevig en betrekkelijk zware (700 gram) aluminium behuizing met een metalen inschuiflade (fig») waar alle hulpstukken in passen zoals: snoertjes, insteekspoelen, meetpen en een oortelefoon. Kortom een echt compleet meetinstrument.
|
||

Dit zit allemaal in de inschuiflade van een DM-81.
De dip is niet zo groot en komt overeen met ongeveer één schaaldeel op de meter. Men moet rustig de schaal verdraaien om de dip te zien want anders schiet men erover heen. Opmerkelijk is dat alléén maar in het 83 - 250 MHz bereik er 2 kleine valse dippen waren op ± 165 en ± 215 MHz; een zeer goed resultaat van de ontwerper. De stabiliteit van de oscillator is zeer goed en er is eigenlijk geen opwarmtijd nodig.
HANSEN F-701 GridiP meter

|
|
![]() |
Hansen F-107 GridiP meter compleet en nog in originele doos. 
Deze Hansen transistor dipmeter zal men zelden op Internet aantreffen. Het bereik is van 500 kHz – 70 MHz met zes insteekspoelen, elk aan een 7 pens miniatuur connector. Het opvallende aan deze mooie en compacte meter is dat er geen duidelijke valse dippen zijn! De 2m-band ontbreekt jammer genoeg.
VOORKEUR
Tot nu toe gebruikte ik eigenlijk alleen de GD-1U.
Na de modificatie van het type 701 is de voorkeur veranderd en als ik een volgorde in het praktische gebruik zou moeten bepalen wordt het:
|
1a. KENWOOD DM-81 of HEATHKIT HD-1250. |
Overigens de beste dippen geeft de HEATHKIT GD-1U. Voor al deze dippers geldt dat u een ontvanger als monitor nodig heeft om te controleren of de frequentie correct is!
Diplt VAN QRP AG
F/N4SPP attendeerde mij op een mooi ontwerp van de Duitse QRP AG: http://www.qrpproject.de/UK/dipit.htm. Het is een vrij prijzige kit, maar ik denk dat het met zijn prestaties en bij de tijdse techniek wel waard is, vooral als men nog geen dipmeter heeft.


![]()